管道電伴熱專用溫控智能化配電箱

安徽環瑞管道電伴熱控制監測系統將廣泛應用在消防管道、泵體、閥門、槽池及罐體容器的伴熱、防凍和防凝等電伴熱系統中。另外在交通、石油、化工、電力、醫藥、機械、食品、船舶等領域中,都可發揮巨大的作用。可與現在的電伴熱系統實現了真正的智能調控。 真正做到了安全、節能、可靠等無人值守。
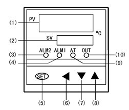
安徽環瑞在原先溫控智能化的配電箱內部增加了智能溫控儀,是采用微電腦控制與熱電阻配套使用的新型溫控儀,多種參數可在面板鍵入,可實現位式控制、PID控制等多種控制規律,特別是采用了專家自整定式控制方法,可在線對控制參數進行專家自整定,控溫精度高,適用范圍廣,可用于我們公司生產的各種電伴熱需自動控制溫度的場合,相關就技術指標要求如下

技術要求:
1.電伴熱材料的應用必須符合電氣規范要求
2.電伴熱防凍智能防凍控制技術要符合熱工設計
3.電伴熱控制和配電必須有:溫度調節、漏電保護、接地保護、過流過壓保護
4.確保電伴熱冬季處于運行待命狀態、運行結束后確保系統運行關閉

















